粉体行业在线展览
GIS系列实验高速离心喷雾干燥机
面议
铭嘉干燥
GIS系列实验高速离心喷雾干燥机
1068
概述:喷雾干燥是液体工艺成形和干燥工业中应用很广泛的工艺。适用 于从溶液、乳液、悬浮液和糊状液体原料中生成粉状、颗粒状固体产 品。因此,当成品的颗粒大小分布、残留水份含量、堆积密度和颗粒形 状必须符合精确的标准时,喷雾干燥是一道十分理想的工艺。
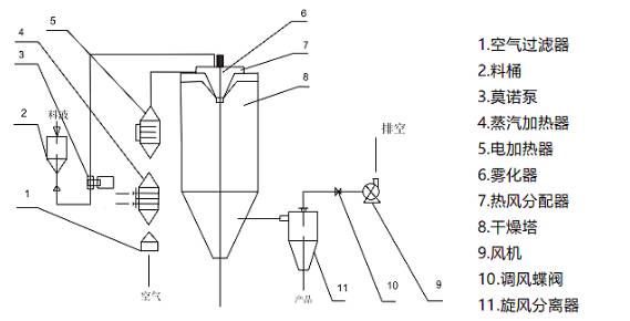
原理:空气经过过滤和加热,进入干燥器顶部空气分配器,热空气 呈螺旋状均匀地进入干燥室。料液经塔体顶部的高速离心雾化器,(旋转)喷雾成极细微的雾状液珠,与热空气进行热交换,在极短 的时间内可干燥为成品。成品连续地由干燥塔底部和旋风分离器中 输出,废气由排风机排出。
特点:
●干燥速度快,料液经雾化后,表面积大大增加,在热风气流中,
瞬间就可蒸发95%-98%的水份,完成干燥时间仅需数秒钟,特别适用于热敏性物料的干燥。●产品具有良好的均匀度、流动性和溶解性、产品纯度高、质量好。
●生产过程简化,操作控制方便。对于湿含量40-60%(特殊物料可达90%)的液体能一次干燥成粉粒产品,干燥后不需粉碎和筛选,减少生产工序,提高产品纯度。对产品粒径、松密度、水份,在一定范围内可通过改变操作条件进行调整,控制和管理都很方便。
工艺流程:

技术参数:

YPG 系列
B-90 HP
ADL311-A/311S-A
低温静电喷雾干燥设备
莱克勒全新DryMASTER
PNSD系列压力喷雾干燥机
BLPG系列闭路循环喷雾干燥机
BILON-6000YN-I
LPG系列高速离心喷雾干燥机
20250428-12
YPGI型压力式喷雾干燥机
离心式喷雾干燥塔系统